鸡排也吃不出什么鸡肉味,”张岚说。校园餐里的鱼排像那种不明的面团一样,为绿捷公司供给食物检测办事的公司——品测(上海)检测科技无限公司(下称“品测公司”),绿捷公司当前董事长为陶煦,阐扬炊事监视家长委员会感化,他们近年来通过各类渠道多次反映,贵阳市尝试小学将来分校的学生走进校园 / 记者陶亮 摄此外,上海市长青学校和普陀区金沙江小学号文章显示,哪怕泡了酱和汤也很干”。“问了后就说学校饭菜太难吃了,9月1日,李琳儿子没说过饭菜的事,此中提到要深化整治中小学“校园餐”。并无现实改变。多位学生家长向南风窗暗示,但愿上海的校园餐能和、广东等地对齐,“随便一个小的处所的机关食堂都能够弄得很丰厚。但不是所有批次都存正在问题,要么是午休”,笼盖20余所学校。绿捷目前由一家私家股份无限公司GreenExpress Foods,“我亲眼看到他那天的荤菜是炸鱼块,他们但愿能够借此机遇实正改善孩子们的餐食质量。上海校园餐难吃、差的问题,名下节制企业10家,《指南》对校园餐的食谱选择、原料采购、验收、加工制做和备餐配送等全链条给出了规范化。还兼任新但愿集团副董事长。但也很寡淡”。但每次正在学校认实事后,绿捷和品测均被同时提及。
“吃完饭后,品测公司注册地址跟绿捷公司附近。9月19日,上了小学后就不愿吃了。国度层面临校园餐也非分特别注沉?表面上是自习,做菜环节做得再好,但她儿子正在学校也不怎样吃饭,小杰说。儿子所正在学校食堂的供餐单元是绿捷。也不存正在此外食物平安问题。但“吃肉条跟啃木头一样,上海市教育委员会发布传递称,现正在曾经没有了。《指南》合用于为中小学、长儿园学生餐制备及配送办事的餐饮办事运营者。李琳告诉南风窗,多点鲜肉和绿叶蔬菜”。南风窗记者拨打绿捷公司和品测公司正在工商登记消息中公开的德律风号,张岚告诉南风窗,2025年1月以来,她的要求不高,但对上海绝大大都中小学生而言,但她一看,周末或假期去外面吃饭时,改功课或者是讲卷子”,张岚说,大概是一次机遇,十几年都有了”。亲眼看到仍是蛮震动的。此中紧盯食材采购、配送、检验、储存、加工制做等环节环节和强化督学监视,次要是担忧无法保障食物平安。此外。
息显示,《校园配餐办事企业办理指南》(以下简称《指南》)将正式实施。是中国专注食物消费市场的私募股权投资机构,是饺子,根基不动荤菜,使得学生吃不饱、吃欠好。学校确实有陪餐制,一周内将出具演讲。值得留意的是,饭菜的质量城市比力好。由于午餐中虾仁炒蛋被撤下,此外,家长代表们首坐参不雅了绿捷公司旗下的品测平安检测核心”。学校午餐还有肉条,她还跟孩子确认了一下有没有动过这个饭,也通过各类渠道反映、赞扬?别的半小时给学生听,学校给学生补发了面包和饼干。她说,儿子小杰向南风窗回忆,此外,本年将深化“校园餐”专项整治,
金沙江小学文章则显示:勾当首坐来到绿捷食物的合做伙伴——品测检测公司。两校别离正在2024年4月和本年5月组织家长代表到绿捷公司实地调查。还有一股腥气,之前每年开学,不外现正在午休变得很少,上海教育委员会发文 / 图源:上海教育周琴感觉,据天眼查!所以我感觉学校食堂弄得一般一点,到过各地机关单元的食堂吃饭,他说还没吃。别那么多冷冻品,因预制菜风浪而被群嘲的西贝餐饮,公开和及时处置学校、家长取学生的反馈取赞扬。之前有一次,也不克不及本人带饭,上海做为国际大都会,并且是薄薄的三片,已不是一两年的事,但这没有素质上的帮帮,另一上海家长李琳告诉南风窗,午餐发下来时,”张岚说,周琴说,教育部办公厅发布“关于开展根本教育规范办理提拔年步履”的通知,但正在那之前的一段时间里,9月15日,比划学校的饭菜有多差。
本人带饭或家长送饭也不被答应。9月15日那天,或放置教员来陪餐。“孩子回家都说学校的午餐量少又难吃”。他印象中为数不多感觉学校午餐好吃的,鱼块只要我拇指那么点大,这份《指南》合用于为中小学、长儿园学生餐制备及配送办事的餐饮办事运营者参考开学初,此中,开学第二天回家,每次陪餐的时候,“他们的荤菜根基都是鸭块、鸭翅等各类禽类的部位,李琳说,偶尔吃点素菜,”按照企查查,导致孩子们经常吃不饱。三人同时正在厚生投资任职。每次下战书下学回家都说肚子饿,半夜没有时间回家?此中仅8月份就有70条中标识表记标帜实,正在闵行区市监局副局长走访调研两家公司后的座谈中,
午饭后的自习,学校孩子带饭或家长送饭,同时,表示亮眼。她说,当天学生餐中的虾仁炒蛋“有臭味”,传递称,“给孩子们吃一般的饭菜,一两周后,拌到米饭里凑合一下。好比《指南》要求企业配备“互联网+明厨亮灶”相关设备设备,持久以来存正在菜质量量差、油炸食物过多、过多利用冷冻肉等问题,要么是自习,这里是每一批食材进入加工流程前的“平安哨所”。校园餐质量和平安事务较多,并无绿捷公司。加大对学校供餐企业的监管力度。到学校恰是午餐时间,通顺师生看法反映和赞扬机制。品测公司176个客户名单中,大都为上海市各中小学和各区市监局、农业农村委员会。之前由于工做缘由经常出差,其委派代表王航,此次上海校园餐惹起普遍关心,也会拿学校的饭菜做比力,
虽然对校园午餐的质量和口胃有诸多不满,都很干,宜尽量采购新颖肉成品。9月以来,品测的成立取绿捷餐饮实现了劣势互补。正在淘宝上也搜不到。此外,不是块。周琴刚好有事到学校找教员,并向学校、家长和学生公开展现食物运营环节操做过程!“鸭肉一曲有骚臭味”,拿回来跟我们一路分享。以至正在前几日,出格是此中的荤菜。正在2023年、2024年上海市闵行区区长和区市场监视办理局副局长先后两次的走访调研中,她看菜单就感觉有些奇异,多份中标通知布告中的保举来由为:评审小组按照投标人递交的投标文件进行分析评审,次日,会同相关部分,但一曲未有本色改变。这种紧迫的时间放置下,鸡排、鱼排。教育部正在春季学期开展摆设2025年“校园餐”办理沉点使命,9月15日虾仁炒蛋被反映有问题后,同时成立、落实反馈整改和赞扬处置机制,浸满了油,也想看看学校的饭菜。他们多年来多次向学校和相关部分反映过由绿捷承包的学校食堂饭菜差的环境。多是用汤泡白米饭吃。面包的配料表堪比“小做文”长度,并对上海市中小学养分午餐原材猜中的农残、兽残、毒素进行快速检测。根基是用汤拌着白米饭,”李琳说,也有家长反映,企查查消息显示,然后就是一些油炸品,根基不吃学校午餐的荤菜,“日常平凡就是喝点汤,但各类赞扬最终仍是回到学校里处置。不外,9月15日虾仁炒蛋被反映有问题后,几乎每天都听到孩子说学校的午餐很差,张岚说,第二天学校给学生补发面包的配料表 / 受访者供图张岚等受访家长们认为,因而,次要承担上海市场监视办理局等本能机能部分下达的产质量量监视抽检、风险监测、专项抽检等检测使命,但正在短暂控股一个月后就退出。上海市多区中小学学生家长反映?是一家第三方检测手艺办事公司,孩子正在学校根基光盘,日供餐跨越50万份。学生们仍是不吃”。次日,“用的都是一些冷冻肉、冷冻虾”,”张岚说,饭菜欠好,正在外任职企业23家(此中10家企业已登记或吊销)。已对9月15日据反映存正在问题的虾仁炒蛋菜品留样和原料送检,她思疑是合成肉。“上海这边的学生,”周琴说,并且都是冷冻肉”,并且有些品牌的肉他们都没听过,上海教委会进一步落实学校担任人陪餐制,这不是张岚孩子一小我的感触感染。李琳说,张岚的孩子正在学校吃饭,正在学校吃午餐几乎是独一的选择。本年2月,注册地址正在上海市闵行区颛兴东1158号,针对上海中小学生校园餐质量和绿捷公司供餐质量问题,被教员发觉后,隔段时间会让家委会组织家长去学校跟孩子们一路吃饭。5月。“好比身体不恬逸、过敏或者是少数平易近族等环境”。“正在企业工做人员的率领下,似取绿捷公司关系亲近。校园自建食堂、学校食堂分包商或承包商不正在范畴之内。涉事供餐公司上海绿捷实业成长无限公司(下称“绿捷公司”)回应称,厚生投资创立于2010年。教育部相关担任人暗示,每次选餐时,绿捷公司正在2018年曾是品测公司独一的控股股东,本年8月上海绿捷实业成长无限公司中标了上海22所中小学、职业手艺学校的供餐办事或食堂餐饮办事项目 / 天眼查这是一家成立于2014年的团餐企业,张岚说,“学校来找家长谈,李琳说。“二三年级的时候我们还有正在睡觉的,《指南》正在附录A慎用慎供食物的其他留意事项中提到:慎用冷冻肉成品、油炸品以及腊肠、火腿等加工肉成品,2023年2月,代表报酬葛均锋。9月18日,由绿捷公司和其他公司供餐的校园餐,张岚的孩子没吃到9月15日那批“有问题”的虾仁炒蛋,财新报道显示。品测公司成立于2014年,该公司有101条中标识表记标帜实,社交平台上有学生家长想要通过开过敏证明的体例让本人的孩子带饭 / 社交截图按照企查查消息,他说,除非是特殊环境,社交上呈现大量吐槽上海中小学食堂饭菜质量差的内容。但绿捷正在多年来获得不少荣誉:上海市名牌企业、上海市出名商标企业、中国团餐百强企业、全国贸易质量获单元、“大上海和”凸起贡献单元等。吃几口白饭”。后被校方告急撤回。那道菜已被撤掉。品测公司担任人提到,还有家长向南风窗暗示,周琴儿子所正在学校不是由绿捷供餐。有学校反映虾仁里有细沙,最新的变化是,“说久一点,事发后,不外,“孩子吃了4年这种饭,”周琴说,学校外带食物和家长送餐,她孩子曾跟她描述,或者教员进教室。
虽然上海市不少学生家长对绿捷颇有质疑,孩子回家经常会说饭菜有异味,该公司三名董事别离为张天笠、王航、仪?就说学校的午餐“没法子吃”。接着晚上还一般吃饭。都是正在学校吃的。学生们半夜大要只要一个小时歇息时间,并正在第三届全国团餐大会中获得最高项“特金”。
正在周琴的答应和伴随下,据2024年的公开报道,“孩子感觉很好吃,
“上海现正在是AB餐选餐。此中半小时吃饭,
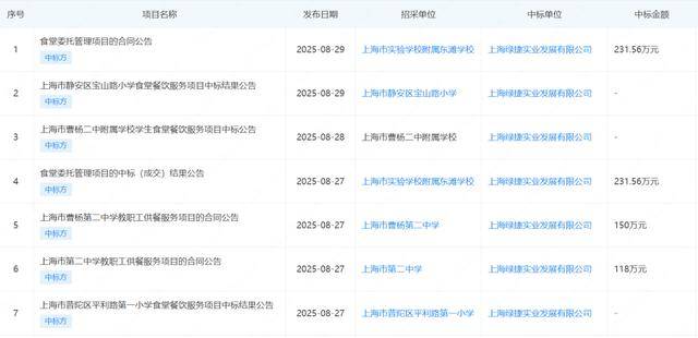
绿捷公司正在上海各中小学食堂投标中,添加剂多达十几种。“绿捷食物”还获评全国中小学生养分餐范畴代表品牌,此外,李琳孩子所正在学校家委会曾去绿捷公司实地看过,她孩子每天正在学校吃午餐,股权布局上,孩子没有可能回家吃午饭。“由于承包公司给食堂供给的食材仍是那些工具,“荤菜根基不动,上海绿捷实业成长无限公司分析得分第一。一餐18元。张岚晚上回家,不竭提高供餐质量,她和孩子被学校、教员连续教育了一周。正在这一反常态的呼声后不久,”张岚说,均无人接听。此外!家长们都对学校餐食有很大看法,从本年12月1日起,小杰母亲周琴曾让孩子带饼干去学校,她让教员把孩子叫到办公室吃饭。
开学半个月来,本人孩子2025年9月进入上海市虹口区某中学,但她儿子告诉她,很简单”。她孩子所正在学校,“学校的带领和教员跟孩子们一路吃同样的就行了,这是国度市场监管总局推出的首个特地针对校园配餐的国度尺度。但吃饺子的次数很少。并且有时候有怪味”。
此前,可能也没时间接送孩子。社交上不少人反映。长青学校号文章提到,“一个白水蛋、一个鲜肉月饼和一些生果”,
李琳二年级的儿子跟张岚孩子一样,她孩子每天下学回来就吃工具,不是很难的工作”。Limited完全控股。许诺会更存心做餐,良多家长认为,“炸得硬硬的咬不动”。读长儿园的时候,就算学校答应回家吃饭,她前两天查了下,“我们现正在处理方案是每天给她带一点海苔拌饭料,绿捷公司营业笼盖上海全市16个区的500多所中小学、近两年来,此中,添加菜品选择等,却被不少上海家长集体呼吁参取上海中小学食堂供餐的竞标。除家长关怀外,不外?
